O novo Apple Pencil traz inovações como um design mais ergonômico e funcionalidades práticas. Com a capacidade de alternar entre ferramentas com um toque e maior precisão, ele melhora a experiência ao desenhar e escrever. Sua integração com aplicativos de desenho e notação promete facilitar a criação de conteúdo. Além disso, novos acessórios devem aumentar sua versatilidade, tornando o uso mais prático em diversas situações.
Você já imaginou como seria ter câmeras nos AirPods? A Apple está se movendo nessa direção e as novidades são de deixar qualquer fã em polvorosa. O que essas inovações significam para o futuro da tecnologia? Vamos descobrir!
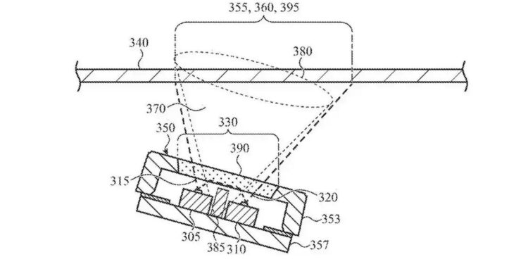
Câmeras nos AirPods: O que vem por aí?
Os rumores sobre as câmeras nos AirPods têm gerado muita empolgação. Agora, a Apple parece estar explorando essa possibilidade. Imagine poder usar seus fones de ouvido para capturar imagens e vídeos, sem precisar de outro dispositivo!
Como Seriam as Câmeras?
Pensa em fones leves e ao mesmo tempo poderosos. As câmeras poderiam ser pequenas, quase invisíveis, e com alta qualidade de imagem. Isso permitiria tirar fotos rápidas enquanto você está em movimento.
Funcionalidades Esperadas
Além de fotos, as câmeras poderiam vir com recursos como gravação de vídeo e transmissão ao vivo. Já pensou em fazer chamadas de vídeo com mais conforto, sem necessitar manter o celular na mão? Seria muito útil e prático.
A Reação do Mercado
A ideia ainda é um conceito, mas muitos usuários estão animados. Eles esperam que essa inovação faça os AirPods se destacarem ainda mais entre outros fones no mercado. Com a Apple, sempre há algo novo no horizonte.
Impacto na Experiência do Usuário
Se as câmeras forem bem implementadas, elas podem realmente transformar a experiência de usar fones de ouvido. A Apple sempre prioriza a usabilidade e convém esperar que eles façam isso novamente. O que você acha? Essa ideia parece atraente para você?
Como o novo Apple Pencil promete mudar sua experiência
O novo Apple Pencil promete trazer melhorias significativas para quem utiliza o dispositivo. Com um design mais ergonômico, ele se adapta melhor à mão do usuário, tornando a escrita e o desenho mais confortáveis.
Recursos Inovadores
Uma das novidades é a capacidade de troca de ferramentas com toques na ponta. Isso é muito prático, pois você pode mudar rapidamente entre lápis e borracha, sem interrupções no fluxo de trabalho.
Precisão e Sensibilidade
Esse Apple Pencil terá uma maior precisão e sensibilidade à pressão. Isso significa que seus traços serão mais suaves e fiéis ao que você imagina. É perfeito para artistas e designers que precisam de detalhes.
Integração com Apps
Além disso, ele se integrará melhor com diversos aplicativos. Apps de desenho e notação vão se beneficiar de seus novos recursos. Isso trará uma experiência mais fluida ao criar conteúdo e fazer anotações.
Acessórios e Conectividade
Com novos acessórios disponíveis, o novo Apple Pencil também promete maior versatilidade. Isso pode incluir suportes e capas que otimizam seu uso. Você pode usá-lo a qualquer hora e em qualquer lugar com facilidade.
Fonte: MacMagazine

















